Please enable JavaScript to view this site.

IDS Software Suite 4.96.1

Navigation: D: Specifications > USB uEye XS

Mechanical specifications USB uEye XS

Scroll Previous Top Next More

hint_info

The following tolerances apply to the drawings in the "Mechanical specifications" chapter:

Length and angles: ISO 2768-f

Shape and position: ISO 2768-H

Fig. 553: USB uEye XS

Fig. 553: USB uEye XS

camera-usb2-ueye-xs-3d-back

Lens mount

Enclosure IP code

Weight

- (integrated)

IP 30

12 g

hint_notice

NOTICE! The camera connectors may be damaged if you install or remove the camera with plugged in cables. Therefore, first unplug the GigEUSB and/or I/O cable from the camera.

hint_info

The housing of the USB uEye XS is made of a magnesium alloy (Mg-AZ91D). If you need to machine or work on the housing in any way, please strictly comply with the applicable safety and fire protection regulations for this material.

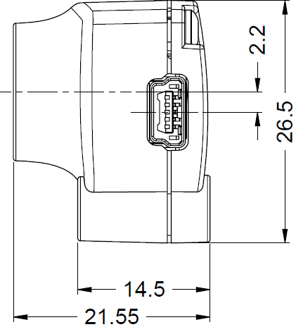
Housing dimensions

Fig. 554: USB uEye XS - front view

Fig. 554: USB uEye XS - front view

Fig. 555: USB uEye XS - rear view

Fig. 555: USB uEye XS - rear view

Fig. 556: USB uEye XS - side view

Fig. 556: USB uEye XS - side view

Fig. 557: USB uEye XS - top view

Fig. 557: USB uEye XS - top view

© 2022 IDS Imaging Development Systems GmbH